皇冠信用網正网 | 37岁男演员于朦胧被传坠楼,7月刚注销工作室,警方回应
时间:2025-09-11 阅读:5684 评论:152
皇冠体育比分(www.hg0088.us)-会员开户_登3代理>皇冠体育/—开会员账号—皇冠信用网招登1登2登3<平台出售>据中国蓝新闻,9月11日,演员于朦胧冲上热搜,有网友称于朦胧今日在北京坠楼,目前于朦胧方无回应皇冠信用網正网。

于朦胧主页显示,其上次更新动态是8日前,昨天21:31还上线了微博皇冠信用網正网。目前,于朦胧方暂无回应。

据三湘都市报,记者联系了北京市朝阳区常营派出所,派出所民警称没有收到相关消息皇冠信用網正网。

展开全文
于朦胧,1988年6月15日出生于新疆维吾尔自治区乌鲁木齐市,毕业于北京演艺专修学院,中国内地男演员、歌手、MV导演皇冠信用網正网。

2007年,参加东方卫视选秀娱乐节目《我型我秀》,获得西安站16强皇冠信用網正网。2010年,参加选秀节目《快乐男声》被选入“快乐天团”候选人;同年,担任丁爽歌曲《61秒》的MV导演。2013年,参加湖南卫视选秀娱乐节目《快乐男声》,获得全国总决赛第十名。2015年,主演的古装穿越剧《太子妃升职记》播出,获得大量关注。代表作品有《三生三世十里桃花》《太子妃升职记》《永夜星河》《一伞烟雨》等。

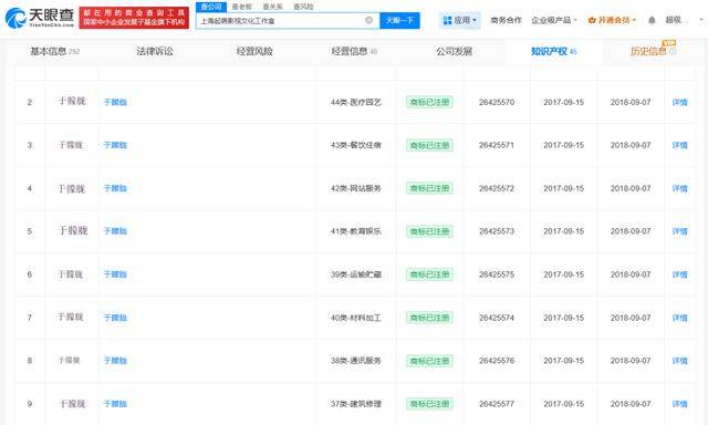
天眼查任职信息显示,于朦胧名下关联2家工作室,分别为上海起萌影视文化工作室、东阳鲜萌影视文化工作室,均为注销状态皇冠信用網正网。其中,上海起萌影视文化工作室成立于2017年8月,于2024年11月注销,出资额500万人民币,为于朦胧个人独资企业。知识产权信息显示,该工作室已成功注册多枚“于朦胧”商标。此外,东阳鲜萌影视文化工作室成立于2016年9月,于2025年7月注销,出资额0.05万人民币,为于朦胧个人独资企业。




猜你喜欢
- 2026-03-10外围足球代理怎么申请 _伊朗:使用超重型导弹打击美以,以此向新任最高领袖致敬
- 2026-03-07足球平台出租网 _邵子钦进球后比心庆祝,王霜灵魂拷问:小邵这心比给谁的呀?
- 2026-03-05足球平台出租 _开战4天,中国卫星看到的美以损失情况如何?美国还能坚持多久?
- 2026-03-04足球盘口代理 _内贾德亲信:他一切安好,遇害消息不实,本人住所距被击中建筑约100米,伊朗高官称不与美国谈判
- 2026-03-03足球信用网平台 _女子带1米长巨大豆荚坐飞机回东北引围观,本人称已跨越4000公里落地,机场客服:可随身携带
- 2026-03-02世界杯正规买球app _伊朗放开手脚,首次使用子母弹头!以色列紧急向民众发出警示
- 2026-03-01世界杯足球代理 _玻利维亚一运钞运输机坠毁已致15死,大量钞票散落,民众进飞机残骸捡钞票被驱散
- 2026-03-01世界杯足球代理 _西安街头一新能源车凌晨突发爆响,挡风玻璃震裂掉落,车企客服称车内有不安全物品,警方介入调查,网传部分信息与实际不符
- 2026-02-20皇冠ag mos011 _深夜!伊朗突发,特朗普宣布!
- 2026-02-06皇冠代理网 _闪评|俄美乌新一轮会谈举行 欧盟重金援乌传递哪些信号?
- 2026-02-05皇冠信用网代理出租_普京一声令下,俄军6个小时大轰炸,基辅电力彻底瘫痪,乌克兰或后悔撕毁停战协议
- 2026-02-03皇冠登一登二登三区别_再胜广东队,上海大鲨鱼以胜利完成常规赛第一阶段



网友评论